UNOBAT 78+ STRØ SPORTSGULV
PROJEKTERINGS- OG LÆGNINGSVEJLEDNING

D 18.1

 

D 18.1

 


1. PROJEKTERINGSVEJLEDNING


INFORMATION
UNOBAT 78+ STRØSYSTEM

D 1.0

Generel information
Junckers sportsgulve

D 18.1

Projekterings-
og lægningsvejledning

Tabel 1

1.1 SYSTEMSPECIFIKATION

Junckers Unobat 78+ sportgulv er baseret på 22 mm massive parketbrædder, sømmet til et fjedrende underlag af laminerede strøer. Systemet er fremstillet som en enkeltlags strøkonstruktion og kiler med præmonterede stødpuder. 

Denne løsning gør det muligt at installere UnoBat 78+ problemfrit, selv på ujævne undergulve. Kile og stødpude er nu samlet i én sømløs løsning, hvilket gør installationen både hurtigere og mere præcis

 

Til kilerne findes et udvalg af forhøjere (20, 30, 40, 50 mm) til at øge konstruktionshøjden. Der må bruges max. 2 stk. forhøjere pr. kile.

Strøafstand: Vælg mellem strøafstand, 336 eller 411 mm. Afstanden fastlægges ud fra ønskede sportsfunktionelle egenskaber og/eller styrkeegenskaber. Hvis gulvet anvendes til Basketball eller hvis der opsættes mobil tribuner, skal underkonstruktionen altid udlægges med en strøafstand på 336 mm. 

Strøer langs vægge: Til systemet medfølger specialstrø (Gavlstrøer) 39x40 mm til udlægning langs vægge, hvor der ikke ønskes fjedring. Disse strøer opklodses med Junckers dobbeltkile.

Konstruktionshøjde:
Minimum 78 mm og maxium 205 mm.

Performance: Gulvsystemet er et såkaldt fladeelastisk sportsgulv med høj stødabsorption og fjedring. Velegnet til brug i multisportshaller, arenaer samt til squash. Junckers Unobat 78+ sportsgulv er testet og godkendt i henhold til EN 14904:A4, klasse A4 og FIBA Level 1.

Trinlyddæmpning ved udlægning på tunge etageadskillelser:
22 mm gulvbrædder på UnoBat 78+ strøer: 19 dB.
For generel information om lyd samt praktiske anvisninger om lydtekniske forhold i gulvkonstruktioner, hvori Junckers massive trægulve anvendes, se E 5.0. 

Læs al information: Bemærk at informationen for dette gulvsystem først er fyldestgørende, når Generel information samt Projekterings- og lægningsvejledning er sammenholdt, se tabel 1. Ved tvivlspørgsmål kontakt Junckers tekniske service.

1.2 GULVKOMPONENTER - UNOBAT 78+ STRØSYSTEM

 

  1. Junckers massive parketgulv til sport
    Tykkelse x Bredde x Længde:
    22 x 129 x 3700 mm​

    Træsorter, sorteringer og overflade:
    Se produktinformation B 2.0. 

  2. Junckers J-søm (Maskinsøm)
    2,2 x 45 mm specialudviklet J-søm med stor forskydnings- og udtræksstyrke

  3. Laminerede strøer
    27 x 60 x 3360 mm 

    Gavlstrøer 39 x 40 x 3600 mm

    Strøafstand: 
    c/c 336,4 mm (336)
    c/c 411,1 mm (411)

    Unobat 78+ strøer er udført i gran og/eller fyrretræ med et fugtindhold på 8-10 %. 

  4. Opklodsninger
    Justerbar UnoBat 78+ kile.

  5. SylvaThene fugtspærre
    0,20 mm PE-folie. 

  6. Afstand til væg
    1,5 mm pr. lbm. på tværs, henholdsvis 1 mm pr. lbm. på langs af gulvet, begge dog min. 30 mm. Gælder også til faste installationer – f.eks.søjler. Mellemrummet kan dækkes med Junckers ventilerede Combi Sportsfodpanel

Fig. 1

1.3 SYSTEMETS STIVHED OG BÆREEVNE

Systemet er konstrueret således, at der opnås gode sportsfunktionelle egenskaber i forhold til de belastninger, der kan forventes påført gulvfladen i forbindelse med udøvelse af sport. 

For at forhindre skadelige nedbøjninger er der i gulvsystemet indbygget et stop, der virker ved store belastninger. Stoppet har ingen funktion ved normal sportsbrug. 

Bæreevne ved punktlaster
UnoBat 78+ strøsystemet er testet og godkendt for maksimale punktlaster i forhold til lastarealet, ved strøafstande c/c 411 og 336 mm.

I tabel 2 ses den maksimale bæreevne fra punktlaster ved strøsystemets på forhånd anbefalede strøafstande og ved givne lastarealer.

Tabel 2

 

Strøafstand c/c 336 mm:

Strøafstand c/c 411 mm:

ø 25 mm: 4,5 kN (ca. 450 kg)

ø 25 mm: 4,0 kN (ca. 400 kg)

100x100 mm: 6,0 kN (ca. 600 kg)

100x100 mm: 5,5 kN (ca. 550 kg)

I tabel 3 ses strøsystemets bæreevne i forhold til belastningsklasserne i DS 410:1997 /ENV 1991-2-1:1995, svarende til at bæreevnen er opfyldt samt at gulvet har en acceptabel stivhed. 

Endvidere ses gulvsystemets egnethed i forhold til hjullasterne. 

For yderligere definition af belastningsklasser og typer, se Generel information om Junckers Sportsgulve D 1.0 under afsnittet Stivhed og bæreevne.

Tabel 3

Belastningstyper

Belastningsklasser

Flade- og punktlast

Hjullast

C4: Samlingslokaler f.eks gymnastiksale/scener

Godkendt*

Godkendt**

C5: Samlingslokaler, f.eks. sportshaller inkl. tribuner

Godkendt*

Godkendt**

*Punktlast areal min. 200 x 200 mm  / ** Hjullast se D 1.0, Tabel 2


1.4 UNDERKONSTRUKTIONENS PLANHED

Overfladen på underkonstruktionen må efter opretning højst afvige 2 mm fra planhed på et 1,5 m retholt, på tværs, såvel som på langs ad de enkelte strøer.

Krav til planhed af underkonstruktioner udtrykkes i Junckers tekniske information, som en ikke større afvigelse fra planhed end 2 mm på et 1,5 meter retholt.

Fig. 2

1.5 10-BRÆTSREGLEN 

For i videst muligt omfang at undgå spænd eller fugedannelser i gulvet, forårsaget af svingninger i de klimatiske forhold i byggeriet, skal parketbrædder lægges efter et 10- brætsmål.

Dette angiver, hvor meget 10 brædder i bredden skal dække ved lægningen, og 10-brætsmålet skal kontrolleres løbende, se Fig. 2.

For at overholde 10-brætsmålet (10BM) anbefales brug af afstandsbrikker under gulvlægningen. Afstandsbrikker leveres i et størrelsesudvalg passende til rummets forventede relative luftfugtighed.

Fig. 3

10-brætsmålet vælges primært ud fra den forventede maksimale relative luftfugtighed i byggeriet over året, se Fig. 3. 

Figuren illustrerer 10-brætsmålet for 129 mm brede brædder i relation til den relative luftfugtighed. F.eks. vil 10- brætsmålet ved en forventet relativ luftfugtighed på max. 65 % RF være ca. 1294 mm. 

10-brætsmålets ydergrænser, der også afhænger af gulvets størrelse, er markeret med stiplede streger. Gulvfladens størrelse samt dets placering, dvs. terrændæk eller etageadskillelse, kan endvidere have betydning for valg af 10-brætsmålet.

Konsulter Junckers tekniske service for rådgivning herom.


Fig. 4

1.6 VARMEISOLERING OG RØRFØRINGER I UNDERGULV

Under strøsystemet er der god mulighed for at anbringe varme‐ isolering.

Det skal sikres, at der mellem bræddeunderside og overside isolering er tilstrækkelig ventilation, således at der ikke opstår risiko for råd og svamp i gulvkonstruktionen.

Alle centralvarmerør samt øvrige koldt- og varmtvandsrør under gulv, skal isoleres om‐ hyggeligt med mindst 20 mm mineraluld e.l.

Det skal sikres, at der er tilstrækkelig afstand mellem bræddeunderside/strøunderside til rørisoleringen, således at gulvets vertikale bevægelser kan foregå uhindret, se Fig. 4.

1.7 FUGTISOLERING

Betonundergulve
Restporefugten i betonen må max. være 85 % RF. På betonundergulve kræves der isolering mod byggefugt og på terrændæk tillige mod jordfugt.  

Fugtisoleringen etableres ved udlægning af en fugtspærre, min. 0,20 mm  PE-folie, f.eks.. Junckers Fugtspærre, med tapede overlapninger, direkte på betonen, se Fig. 4 (stiplet linie). 

Træbaserede undergulve
Ved renoveringsopgaver, hvor nye gulvsystemer lægges på eksisterende undergulve af træbaserede materialer, skal det sikres, at hele konstruktionsopbygningen er fugtteknisk korrekt udført.

Som hovedregel udlægges der ingen fugtspærre ovenpå eksisterende trægulve, idet dette kan medføre fare for svampeangreb i underkonstruktionen. 


1.8 VENTILATION AF UNDERGULV

I sportsgulve på strøkonstruktioner skal der generelt monteres fodpaneler med ventilationsspalter, der sikrer tilstrækkelig ventilation af underkonstruktionen. Herved reduceres følgerne af de klimatiske svingninger i bygningen mest muligt, da der tilstræbes samme klima over såvel som under gulvfladen.

Det forventede relative luftfugtighedsinterval vil som oftest overholdes ved en naturlig ventilation gennem ovennævnte ventilationsspalter, når der etableres en forsvarlig fugtspærre af 0,20 mm PE-folie med min. 200 mm overlapning der fuldtapes. Ved naturlig ventilation forstås den luft-transport der opstår som følge af gulvfladens vibrationer ved idrætsudøvelse.

Det er vigtigt, at de etablerede ventilationsspalter ved væggene forbliver intakte og at forhold vedrørende ovennævnte fugtisolering overholdes.


1.9 MATERIALEFORBRUG

Nettoforbrug ved 1.000 m² UnoBAT 62+ strøsystem: (rumstørrelse: bredde x længde = 25 x 40 m)

Gulvbrædder: 1.000 m² + ca. 2 %
J-søm, 2,2 x 45 mm: Ved c/c 336 mm: 25.000 stk. Ved c/c 411 mm: 20.000 stk.
UnoBat 78+ strøer: Ved c/c 336 mm: 2.950 lm.  Ved c/c 411 mm: 2.450 lm
Gavlstrøer: 50 lm

Justerbare UnoBat 78+ kiler: 
c/c 336 mm: 7.100 stk / 7,1 stk. Per m²
c/c 411 mm: 5.800 stk. / 5,8 stk. Per m²

Dobbeltkiler: 160 stk. (c/c 336/411 mm)
Løse fer: Ca. 70 stk. (5 poser)
Junckers SylvaThene fugtspærre: 0,20 mm PE-folie: 1.100 m² inkl. overlapning
Junckers Sylvafix bræddestødslim: 3 flasker á 0,75 liter


2. LÆGNINGSVEJLEDNING


FØR GULVLÆGNING PÅBEGYNDES

Byggeriet skal være tørt og lukket. Varmeanlægget skal være installeret og afprøvet. I fyringssæsonen bør der være konstant varme på.

Betonstøbninger, herunder indstøbning af bøsninger til inventar, afretningslag og andre indvendige arbejder, der kan tilføre bygningen fugt, f.eks. grundlæggende malerarbejde skal ligeledes være afsluttet. 

Den relative luftfugtighed i bygningen skal være mellem 35 og 65 % (DK) og temperaturen ca. 20° C.

Restporefugtindholdet for betonundergulve må max. være 85 % RF og fugtindholdet for træbaserede undergulve 6-12 % (DK).

Massive parketbrædder bør altid lægges umiddelbart efter ankomsten til byggeriet. Hvor parketbrædderne leveres emballeret i pakker, må emballagen ikke åbnes før umiddelbart inden gulvlægningen påbegyndes.


2.1 FUGTSPÆRRE

På undergulve af beton beton udlægges fugtspærre, f.eks. Junckers SylvaThene fugtspærre  med 200 mm overlæg ved alle samlinger.

Folien føres op ad vægge o.l. og tapes i alle samlinger med 50 mm bred tape.


2.2 AFSTAND TIL VÆGGE OG FASTE INSTALLATIONER

Hele underkonstruktionen skal placeres med en afstand af min. 30 mm fra alle vægge og faste installationer, f.eks. netstolper, rør osv.

Dels af hensyn til gulvfladens bevægelse, men også for at sikre ventilation af underkonstruktionen. Ved særlig store spændevidder kan det være nødvendigt at holde en afstand på mere end 30 mm.

Som hovedregel gælder, at der skal være en afstand på 1,5 mm pr. meter på tværs af gulvet i begge sider og 1,0 mm pr. meter på langs af gulvet i begge ender.

Ved mindre gulve indtil 10 meters spænd på tværs af gulvet, kan minimum afstanden reduceres til 15 mm.

Mellemrummet mellem væg og gulv dækkes med Junckers Combi Sports fodpanel.

2.3 UNDERKONSTRUKTION, STRØAFSTAND 411 MM

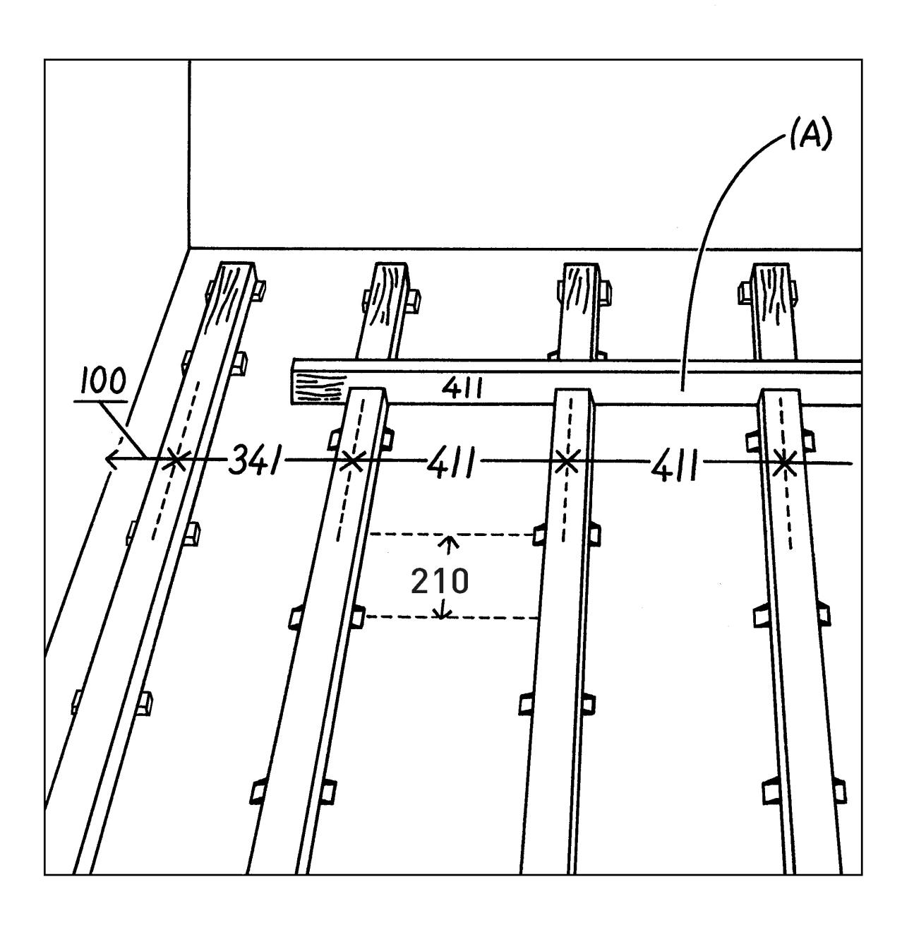
Strøerne udlægges parallelt med den korteste side af rummet (gavlen), således at parketbrædderne installeres parallelt med den længste side af rummet.

Inden udlægning klikkes/monteres de medfølgende UnoBat 78+ kiler (se også pkt. 2.5) på strøerne.

Første og sidste strørække er specialstrøer kaldet ”Gavlstrø” (leveres særskilt mærket med rød tape på bundterne) lægges med en afstand på 100 mm fra væggen til midten af strøen.

Anden strørække udlægges med en centerafstand på 341 mm til første strørække.

Øvrige strørækker lægges med centerafstand 411,1 mm (brædder = 3700 mm/9 strøfag) vha. afstandsholderen ((A) mærket med sort tape på bundterne).

Kilerne på strøer forskydes på linie med 210 mm fra naborækken. Strøstød må ikke ligge på linie, men skal forskydes min. 600 mm i forhold til naborækken. 


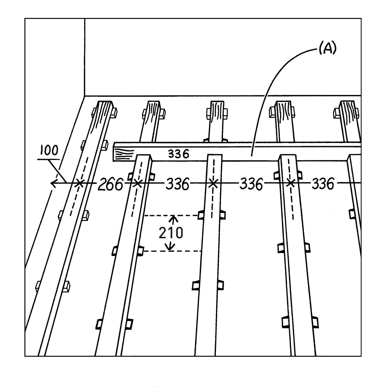
2.4 UNDERKONSTRUKTION, STRØAFSTAND 336 MM

Bortset fra strøafstandene installeres strøerne iht. afsnit 2.3

Første og sidste strørække lægges med en afstand på 100 mm fra væggen til midten af strøen.

Anden strørække udlægges med en centerafstand på 266 mm til første strørække.

Alle andre strørækker lægges med centerafstand 336,4 mm (brædder = 3700 mm/11 strøfag) vha. afstandsholderen ((A) mærket med sort tape på bundterne).


2.5 OPRETNING AF UNDERKONSTRUKTION

Strøerne (1) oprettes ved hjælp af UnoBat 78+ kilerne (2).
Gavlstrøerne (3) oprettes ved hjælp af Junckers Dobbeltkiler (4).

Ekstra kiler monteres for enden af hver strørække, hvor strøerne er afkortet mod væggen. Kilerne fastgøres til strøerne med skruer. På den måde undgås udnødig nedbøjning af gulvet langs væggen 

UnoBat 78+ kilerne klikkes på undersiden af strøerne på de steder, hvor de er markeret med røde streger. Hver strø krøver 8 stk. kiler.
Underkonstruktionen kan nu let nivelleres ved hjælp af kilerne for at opnå den nødvendige planhed.

Ovennævnte kiler kan bruges alene eller i kombination med forhøjere (fås i 20, 30, 40 og 50 mm), for at opnå den ønskede planhed/gulvhøjde. Anvend ikke mere end 2 forhøjere under hver kile.

2.6 STRØER VED NETSTOLPER, RØR MV.

Anbring ekstra løse strøer ved netstolper, rør, o.l. Løse strøer skal være fjedrende og oprettes svarende til øvrige strøer, se pkt. 2.5.

Afstand til alle vægge, netstolper, rør osv., se pkt. 2.2.

Anvendes gulvet til squash fastgøres permanente afstandsklodser med centerafstand 500 mm, mellem første strørække og væggen der spilles mod.


2.7 LÆGNING AF GULVBRÆDDER

Hvis gulvet er bredere end 12 meter, skal lægningen påbegyndes i midten af hallen. Anvend en af følgende to metoder:

  1. De to brædder i centrum samles med en løs fer, der limes til det ene bræt i brættets fulde længde.
  2. Anvend Junckers MidterRække brædder. Disse brædder er konstrueret med en fer på begge sider.

Brædderne skal lægges i et stadigt forløb med en veldefineret fordeling af bræddestød på 4 x strøafstanden, dvs. 1345,6 mm ved c/c 336 eller 2 x strøafstanden, dvs. 822,2 mm ved c/c 411. Herved opfyldes kravet om, at alle bræddestød skal være understøttet af strøer. Brædderne sømmes fordækt, se pkt. 2.10.


2.8 AFSTAND MLM BRÆDDESTØD C/C 411 MM

Alle bræddestød skal være fuldt understøttede og lægges i et forbandt der afhænger af strøafstand.

Ved en strøafstand på 411,1 skal afstanden mellem bræddestød, i to på hinanden følgende rækker, være 2 x 411,1 mm = 822,2 mm, som vist på figuren.

2.9 AFSTAND MLM BRÆDDESTØD C/C 336 MM

Ved en strøafstand på 336 mm, skal afstanden mellem bræddestød i to på hinanden følgende rækker være 4 x 336,4 mm = 1345,6 mm, som vist på figuren.


2.10 SØMNING

Anvend Junckers J-søm, 2,2 x 45 mm maskinsøm. Brædderne sømmes fordækt under en 45° vinkel. Der må ikke sømmes tættere end 50 mm fra stavstød og aldrig i bræddernes endestød.

For at undgå knirk trykkes brædderne ned mod strøerne, mens der sømmes.

De yderste brædderækker, hvor fordækt sømning ikke er mulig, sømmes fra oven. Sømhuller udkittes med Junckers Kitpulver.

HUSK UNDER MONTERING AT TAGE HENSYN TIL DET FASTLAGTE 10-BRÆTSMÅL.


2.11 ROSETTER OG FLANGER

Ved montering af rosetter/flanger i gulvfladen skal rosettens/flangens indvendige diameter have en overstørrelse på minimum 40 mm i forhold til rørets, dvs. netstangens udvendige diameter.

Ved gulvets yderzoner monteres alle flanger excentrisk mod gulvets midte i forhold til bøsningerne i betonen, se lille tegning.

NB: Montage af gulv-rossetter skal udføres således, at såvel vertikale som horisontale bevægelser i gulvet kan foregå uhindret.

2.12 COMBI SPORTS FODPANEL

Junckers fleksible Combi Sports fodpanel kan afhængig af ønsket dækbredde monteres stående eller liggende, se figur.

Den nederste del af fodpanelet skal ligge fladt og være i kontakt med gulvet. Samlinger kan ske enten som rette stødsamlinger eller være skåret i 45º gering.

Fodpanelet kan enten limes til væggen eller skrues fast.

Fastgør ikke fodpanelet til gulvet og sørg for, at fodpanelet ikke påvirker med et nedadgående tryk på gulvet.

keyboard_arrow_up



picture_as_pdf